|
|
|
|
|
|
|
|
BS5154/BS1010
 
PDF Catalog Download (3826KB)
Gate Valves
Loose Jumper Stop Valves
Globe Valves
Check Valves
Ball Valves
WSD Approval
              Last Page
Copper Alloy Globe Valves
(WGV-601T)
(WGV-601C)

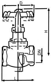
WEALTHMARK globe valves (WGV-601T Series) are manufactured in accordance with BS5154 and have a nominal working pressure of 16 bar. All globe valves are suitable for hot and cold water, oil, gas and saturated steam at low pressure.

TThe materials for the globe valves comply to BS1400 grade "DCB3" brass = BS EN1982 grade "CC754S", size 15mm to 50mm, the globe valve body is manufactured by forge method, size 65mm and above, by casting method. All threads are complied to BS21.

Besides compression joint is also available in 15mm to 25mm, the model number is WGV-601C.

 
 
SIZE
1/2"
15mm
3/4"
20mm
1"
25mm
1.1/4"
35mm
1.1/2"
40mm
2"
50mm
2.1/2"
65mm
3"
80mm
4"
100mm
d
12.7
19
25
32
38
50
56
68
90
L
46
55
68
78
84
106
135
146
190
H
62
69
83
100
120
137
225
225
320
D
55
60
72
80
100
110
120
120
175
     
     
 
Copper Alloy Globe Valves
(WGV-601F)

WEALTHMARK flanged globe valve (WGV-601F Series) are manufactured in accordance with BS5154 and have a nominal working pressure of 16 bar. All globe valves are suitable for hot and cold water, oil, gas and saturated steam at low pressure.

The materials for the globe valves comply to BS1400 grade "DCB3" brass = BS EN1982 grade "CC754S", the globe valve body is manufactured by casting method. All flanges are complied to BS4504 PN16.

 
 
SIZE
2"
50mm
2.1/2"
65mm
3"
80mm
4"
100mm
d
50
65
80
100
L
216
236
306
335
H
160
170
260
320
D
160
180
200
240
     
 
 
              Last Page
Copyright © 2006 wmark.com.hk - All rights reserved.